电视扩展板(TV HAT)
关于电视扩展板(TV HAT)

树莓派电视扩展板(TV HAT)
树莓派电视扩展板可使你在树莓派上使用内置的 DVB-T 及 DVB-T2 调谐器接收数字地面电视广播系统。通过该扩展板,你可以在树莓派上接收和观看电视,或创建电视服务器,使你能够通过网络将接收到的电视流式传输到其他设备。电视扩展板可与一切 40 针树莓派板一起用作网络上其他设备的服务器。这在树莓派上本身接收和观看电视时的性能可能有所不同,如果你出于此使用目的,我们建议树莓派 2 或更新的树莓派。
主要特点:
索尼 CXD2880 电视调谐器
支持的电视标准:DVB-T2,DVB-T
接收频率:VHF III,UHF IV,UHF V
频道带宽:
DVB-T2:1.7MHz,5MHz,6MHz,7MHz,8MHz
DVB-T:5MHz,6MHz,7MHz,8MHz
关于 DVB-T
警告
电视扩展板不兼容北美所使用的数字电视标准——ATSC。
数字视频广播 - 地面(DVB-T)是 DVB 欧洲联盟的广播数字地面电视传输标准。世界其他地方使用其他的数字电视标准,例如在北美使用的 ATSC。但是这个电视扩展板仅支持 DVB-T 和 DVB-T2 标准。

已实施或采取的 DTT 系统(来源:DVB/EBU/BNE DTT 部署数据库,2023 年 3 月)
设置说明
遵循我们的入门文档,并使用最新版本的树莓派系统设置树莓派。
将天线转接器连接到电视扩展板,将转接器指向远离 USB 接口的方向,轻轻按下扩展板,覆盖在树莓派的 GPIO 引脚上,并在扩展板的两到三个角落放置间隔柱,通过安装孔将螺丝拧紧以固定它们。然后将电视扩展板的天线转接器连接到你的电视天线的线缆上。
我们推荐用于解码流(称为复用或简称为 muxes)并查看内容的软件称为 TVHeadend。电视扩展板一次只能解码一个复用,每个复用可以包含多个可供选择的频道。可以在连接了电视扩展板的树莓派上查看其内容,也可以发送到同一网络上的其他设备。
启动你的树莓派,然后打开终端,运行以下两个命令来安装 tvheadend 软件:
$ sudo apt update
$ sudo apt install tvheadend在 tvheadend 的安装过程中,你将被要求设置管理员账户名称和密码。稍后你会需要这些信息,所以确保设置了一个你能记住的内容。
在你网络中的另一台计算机上,打开一个网络浏览器,然后在地址栏中输入以下内容: http://raspberrypi.local:9981/extjs.html
这应该连接到运行在树莓派上的 tvheadend。在通过浏览器连接到 tvheadend 后,你将被提示使用你在安装 tvheadend 时选择的账户名和密码进行登录。
应该出现设置向导。
首先,你需要设置你希望 tvheadend 使用的语言,然后设置网络、用户和管理员访问权限。如果你没有特定偏好,请将允许网络留空,并在用户名和密码字段中输入星号(*)。这将能让连接到你的本地网络的人访问 tvheadend。
你应该看到一个名为网络设置的窗口。在网络 2 下,你应该看到 Tuner: Sony CDX2880 #0 : DVB-T #0。对于网络类型,请选择 DVB-T Network。下一个窗口是为网络分配预定义的复用器;在这里,你选择要接收和解码的电视流。在网络 1 下,对于预定义的复用器,请选择你的本地电视发射器。
注意
你可以使用 Freeview 网站找到你的本地发射器。输入你的邮政编码以查看哪个发射器应该给你一个良好的信号。
当你单击保存并继续时,软件将开始扫描所选的复用器,并显示进度条。大约两分钟后,你应该看到类似以下内容:
Found muxes: 8
Found services: 172在下一个窗口中,名为服务映射,请勾选所有三个框:映射所有服务,创建提供者标签和创建网络标签。你应该看到一个可以观看的电视频道列表,以及它们当前正在播放的节目。
要在浏览器中观看电视频道,请单击频道列表左侧的小电视图标,就在 i 图标的右侧。这将在浏览器中打开一个媒体播放器。根据你的浏览器内置的解码功能和正在播放的流类型,你可能会发现播放会有些卡顿。在这些情况下,我们建议使用本地媒体播放器作为播放应用程序。
要在本地媒体播放器(例如 VLC)中观看电视频道,你需要将其下载为流。单击频道列表左侧的 i 图标,以打开该频道的信息面板。在这里,你可以看到一个可以下载的流文件。
注意
许多应用程序都支持 tvheadend,例如 iOS 上的 TvhClient,可播放树莓派上的电视。
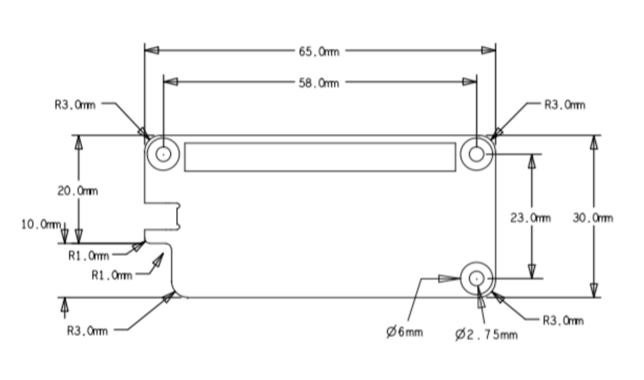
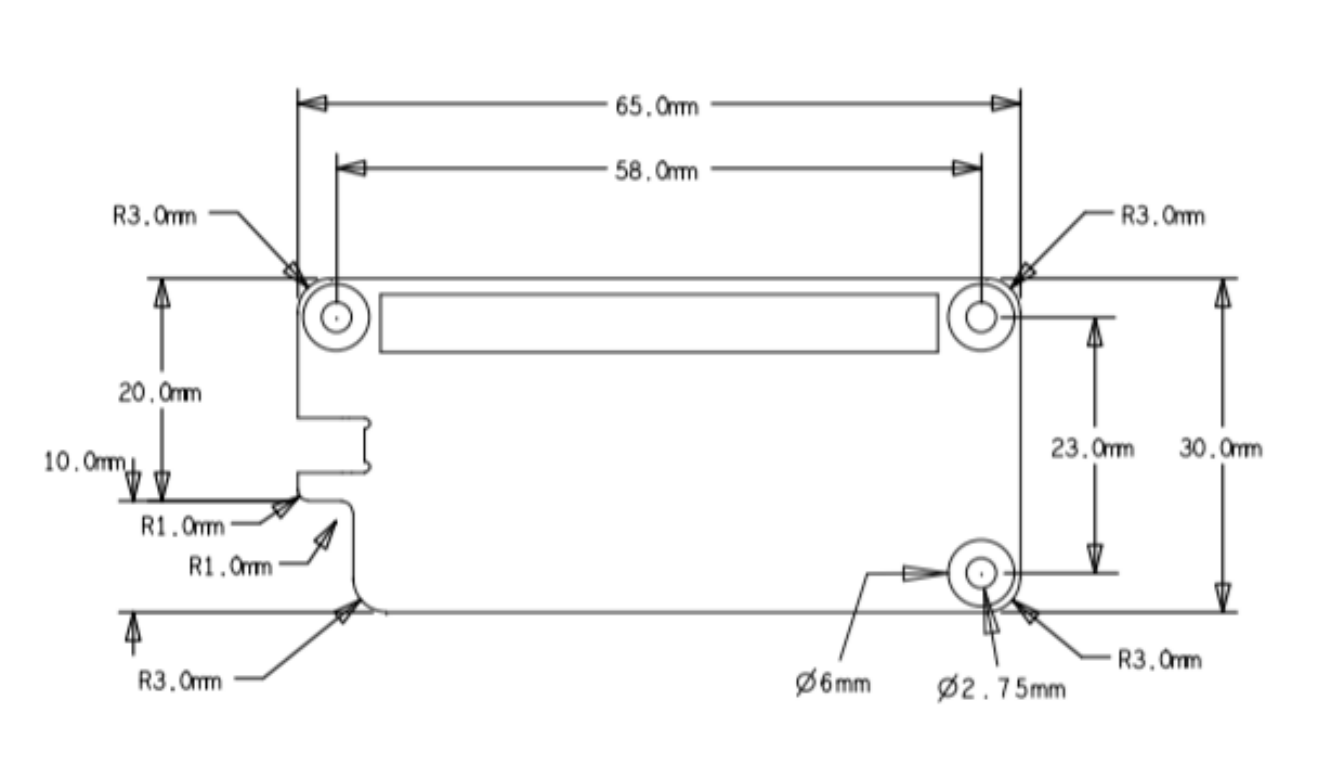
机械图纸

最后更新于
这有帮助吗?